Los 3 descubrimientos arqueológicos más curiosos del 2021
El 2021 dejó algunos memorables descubrimientos arqueológicos, como una ciudad perdida en Egipto o las primeras impresiones de manos dentro de una cueva. Pero también hubo algunos que no consiguieron tanta difusión, a pesar de ser extremadamente interesantes y curiosos.
Te puede interesar
PUAM de ANSES: quiénes la cobran en abril y cuánto se paga con bono
Estos son tres de los hallazgos inesperados que sorprendieron a científicos en todo el mundo:
El viaje de las cuentas venecianas
La relación entre Europa y América comenzó hace más de un milenio, e incluyó un asentamiento vikingo del que cada día se sabe más. Pero este 2021 unas pequeñas cuentas azules de vidrio veneciano encontradas en Alaska demostraron que no sólo ese pueblo nórdico tuvo contacto con el nuevo continente.
Estos adornos comenzaron su largo viaje en Venecia cerca del siglo XV, y antes de la llegada de Cristóbal Colón a América. Los científicos indicaron que las cuentas de vidrio fueron fabricadas entre 1397 y 1488. Sospechan que llegaron a Alaska para ser utilizadas en un trueque a través del estrecho de Bering.
Anteriormente se habían encontrado cuentas similares, pero todas databan de al menos el siglo XVI, es decir, una fecha posterior a la llegada de Colón. La sospecha es que había una ruta de comercio que llegaba de Asia a América por mar, aunque los científicos todavía no consiguieron confirmar esta teoría.
Un crucificado inglés
Arqueólogos ingleses desenterraron un esqueleto que tenía un clavo en su talón derecho. Este raro descubrimiento marca una prueba de que la crucifixión se extendió más allá de Europa continental.
Los científicos determinaron que lo más probable es que el hombre haya sido torturado y asesinado por los romanos, ya que era quienes más utilizaron esta técnica. Los restos se descubrieron en un sitio arqueológico ubicado entre Cambridge y Huntingdon. Se cree que los restos pertenecieron a un hombre que vivió entre los siglos III y IV.
Esta fue la primera evidencia de que los romanos llevaron la crucificción a lo que hoy es Reino Unido. La evidencia física de esta cruel práctica es escasa, aunque hay testimonios escritos que indican que la crucifixión era un castigo común en el imperio romano.
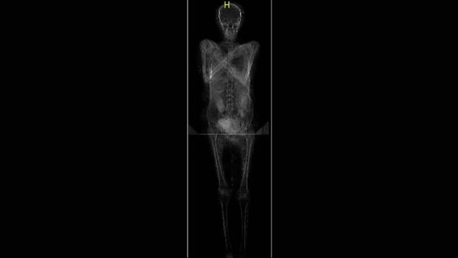
La momia embarazada
En abril de este año los científicos no pudieron ocultar su sorpresa al descubrir la primera momia embarazada. Es la primera momia de este tipo detectada en el mundo.
Quienes realizaron el descubrimiento fueron un grupo de científicos que estudian las momias del Museo Nacional de Varsovia. Marzena Ozarek-Szilke, antropóloga y arqueóloga de la Facultad de Arqueología de la Universidad de Varsovia explicó que estaban por cerrar su investigación cuando vieron imágenes que los impactaron.

"Con mi esposo Stanislaw, un arqueólogo de Egipto, pudimos ver las imágenes por última vez y notamos una imagen familiar de padres de tres niños en el abdomen de la mujer fallecida: un pie diminuto", explicó.
Actualmente se puede ver todo el trabajo que realizaron en un sitio interactivo: http://www.warsawmummyproject.com/en.


