¿Una nueva portátil de Sony?
El mundo de las patentes sirve en ocasiones para desvelar posibles futuros a seguir por las principales compañías fabricantes de consolas y periféricos. Es habitual que se filtren registros de conceptos e ideas que pueden llegar al circuito comercial en el futuro, aunque no siempre terminan materializándose.
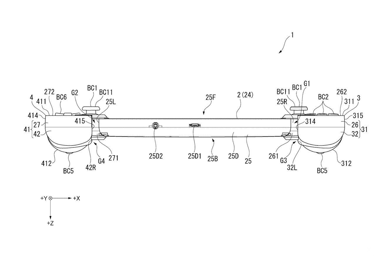
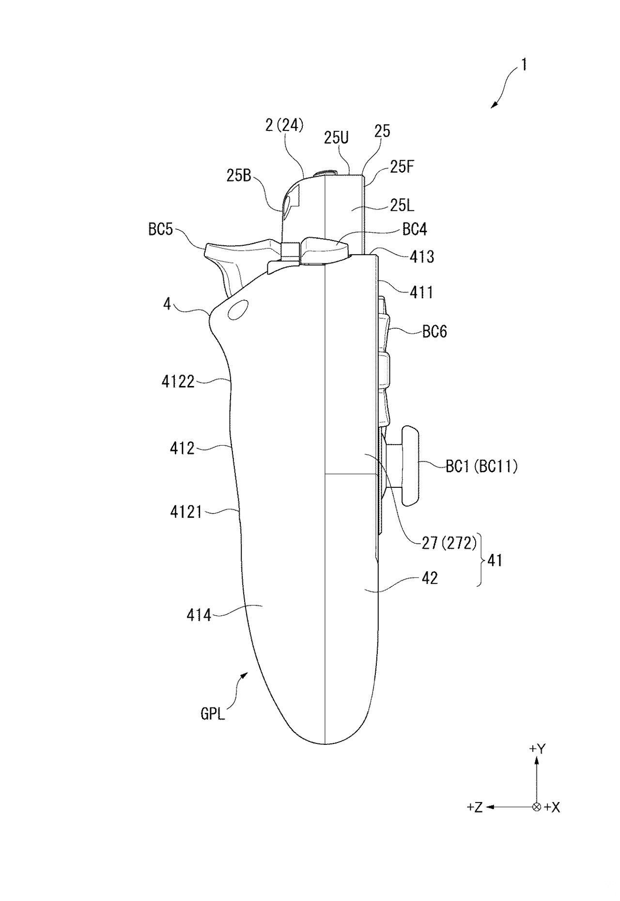
Esta semana ha salido a relucir una patente registrada por Sony en el pasado año 2015 donde se observa lo que parece ser un nuevo concepto de consola portátil que podría seguir los pasos de Playstation Vita, la actual plataforma de mano de la casa de Playstation.


Nuevo diseño de portátil
La patente enseña los diferentes componentes que componen el sistema, pero no sirve para extraer demasiados detalles específicos sobre su hardware. A partir del registro, la comunidad ha empezado a especular si este prototipo apostaría por los mandos extraíbles de la pantalla o tableta.
Las imágenes muestran la consola tanto por su parte delantera como por la cara trasera, enseñando los diferentes botones que componen su pareja de mandos ubicados en cada uno de los laterales. El cuerpo central aparenta ser una tableta unida a estos dos controladores.
Tras el lanzamiento de Playstation Vita en 2011 en Japón, Sony no ha dado nuevos pasos en el terreno de las consolas portátiles. La consola de mano es especialmente exitosa en territorio nipón, donde sigue recibiendo lanzamientos y compatibilizándose con PS4. En el resto de mercados su recepción no ha sido tan célebre como se esperaba.
Ante los cambios que se han producido en la industria del videojuego en los últimos años, especialmente por el auge de los juegos para móviles y tabletas, la propia Sony se ha mostrado, sin embargo, poco atraída por la idea de seguir apostando por el mercado de las consolas portátiles.